Giải vở BT vật lí 6 bài: Ròng rọc
Hướng dẫn giải vở BT vật lí lớp 6 bài: Ròng rọc. Ngoài việc cung cấp kiến thức và hướng dẫn giải bài tập trong sgk. KhoaHoc sẽ hướng dẫn các bạn học sinh giải các bài tập trong vở BT. Hi vọng các bạn sẽ nắm được bài tốt hơn.
A. Học theo SGK
I. TÌM HIỂU VỀ RÒNG RỌC
C1. Mô tả các ròng rọc cố định (H.16.2a):
Ròng rọc cố định gồm một bánh xe có rãnh để vắt dây qua, trục của bánh xe được mắc cố định (có móc treo trên xà), do đó khi kéo dây, bánh xe quay quanh trục cố định.
Mô tả các ròng rọc động (H.16.2b):
Ròng rọc gồm một bánh xe có rãnh để vắt dây qua, trục của bánh xe không được mắc cố định, bánh xe có mang theo móc để treo vật, dây kéo có một đầu buộc vào xà. Do đó khi kéo dây, bánh xe vừa quay vừa chuyển động cùng với trục của nó.
II. RÒNG RỌC GIÚP CON NGƯỜI LÀM VIỆC DỄ DÀNG HƠN NHƯ THẾ NÀO ?
1. Thí nghiệm
C2.
| Không dùng ròng rọc | Từ dưới lên | 4N |
| Dùng ròng rọc cố định | Từ dưới lên | 4N |
| Dùng ròng rọc động | Từ trên xuống | 2N |
2. Nhận xét.
C3. a) Chiều của lực kéo vật lên trực tiếp và lực kéo vật qua ròng rọc cố định là khác nhau (ngược chiều nhau).
Cường độ của lực kéo vật lên trực tiếp và lực kéo vật qua ròng rọc cố định là như nhau.
b) Chiều của lực kéo vật lên trực tiếp và lực kéo vật qua ròng rọc động là không thay đổi.
Cường độ của lực kéo vật lên trực tiếp và lực kéo vật qua ròng rọc động là khác nhau, cường độ của lực kéo vật lên trực tiếp lớn hơn cường độ của lực kéo vật qua ròng rọc động.
3. Rút ra kết luận.
C4. a) Ròng rọc cố định có tác dụng làm đổi hướng của lực kéo so với khi kéo trực tiếp.
b) Dùng ròng rọc động thì lực kéo vật lên nhỏ hơn trọng lượng của vật.
III. VẬN DỤNG
C5. Tùy học sinh, có thể cho ví dụ: Người thợ xây dùng ròng rọc để kéo vữa hay gạch lên cao để xây nhà.
C6. Dùng ròng rọc cố định có lợi: giúp làm thay đổi hướng của lực kéo (được lợi về hướng).
Dùng ròng rọc động có lợi: được lợi về lực, lực kéo vật nhỏ hơn so với kéo trực tiếp.
C7. Sử dụng hệ thống ròng rọc ở hình bên phải gồm 2 ròng rọc: 1 ròng rọc động và 1 ròng rọc cố định có lợi hơn về lực. Vì nó giúp làm lực kéo nhỏ hơn trọng lượng của vật nhiều lần.
Ghi nhớ:
- Ròng rọc cố định: giúp làm đổi hướng của lực kéo so với kéo trực tiếp, không có tác dụng thay đổi độ lớn của lực.
- Ròng rọc động giúp làm lực kéo vật lên nhỏ hơn trọng lượng của vật (lợi 2 lần về lực nhưng lại thiệt 2 lần về quãng đường dây dịch chuyển).
B. BÀI TẬP VÀ HƯỚNG DẪN GIẢI
Kiến thức thú vị
1. Bài tập trong SBT
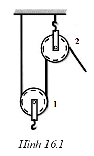
16.1. Chọn từ thích hợp trong ngoặc để điền vào chỗ trống trong câu:
Ở hình vẽ 16.1, ròng rọc 1 là ròng rọc…., vì khi làm việc, bánh xe của nó vừa quay vừa di chuyển; ròng rọc 2 là ròng rọc…., vì khi làm việc, bánh xe của nó quay tại chỗ ( cố định / động)

16.2. Trong các câu sau đây, câu nào là không đúng?
A. Ròng rọc cố định có tác dụng làm thay đổi hướng của lực.
B. Ròng rọc cố định có tác dụng làm thay đổi độ lớn của lực.
C. Ròng rọc động có tác dụng làm thay đổi độ lớn của lực.
D. Ròng rọc động có tác dụng làm thay đổi hướng của lực.
16.3. Máy cơ đơn giản nào sau đây không thể làm thay đổi đồng thời cả độ lớn và hướng của lực?
A. Ròng rọc cố định.
B. Ròng rọc động.
C. Mặt phẳng nghiêng.
D. Đòn bẩy.
2. Bài tập bổ sung
16.a. Chọn từ thích hợp điền vào chỗ trống:
Ở hình 16.2, ròng rọc 1 là ròng rọc .........., ròng rọc 2 là ròng rọc ...........
16.b. Máy cơ đơn giản nào chỉ giúp làm thay đổi hướng của lực?
A. Mặt phẳng nghiêng.
B. Đòn bẩy.
C. Ròng rọc cố định.
D. Ròng rọc động.